Por que o parafuso é sextavado?

Luiz Márcio P. Imenes
Colégio Gávea – São Paulo
Colégio Anglo - Campinas

José Jakubovic
Colégio Oswald de Andrade
São Paulo

Você já deve ter visto parafusos destes tipos:

Sendo que o mais comum é o primeiro, chamado pelos mecânicos de sextavado. Repare que sua cabeça (onde se encaixa a chave para apertá-lo ou desapertá-lo) é um poliedro: trata-se de um prisma regular hexagonal.

Certa vez vimos um parafuso especial de uma máquina, cuja cabeça era um prisma regular triangular:

Por que não existem (pelo menos nunca vimos) parafusos pentagonais ou octogonais?

Em todos estes tipos de parafusos o polígono presente é sempre regular e é fácil perceber a razão disto. Seria inconveniente apertar e despertar um parafuso em cuja cabeça figurasse um polígono não regular. A chave precisaria ser especial para aquele parafuso e ela voltaria a se encaixar na cabeça do mesmo somente após uma rotação de 360°.

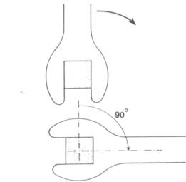
Se o polígono da cabeça do parafuso é um quadrado, após uma rotação de 90°, o parafuso volta à posição original, podendo-se encaixar outra vez a chave para um novo giro.

Deste modo com quatro giros de 90° a rosca dá um passo.

No caso do parafuso triangular são necessários três giros de 120° para completar uma volta na rosca.

Com o parafuso sextavado completamos um passo da rosca após seis giros de 60° cada um.

Quando um mecânico está concertando um defeito qualquer numa máquina, por exemplo, um automóvel, muitas vezes ele tem pouco espaço para trabalhar (em geral em posições desconfortáveis). Por esta razão, dos três parafusos apresentados, o mais cômodo é o hexagonal, pois é o que pode ser apertado ou desapertado com giros menores (60°), isto é, com movimentos mais curtos do braço.

Observe que este ângulo de giro a que estamos nos referindo é o ângulo central do polígono regular.

parafusos, que o ângulo central do polígono seja “pequeno”, por que não usar polígonos com maior número de lados? Um octógono, por exemplo? Neste caso o ângulo de giro seria de apenas 45°.

Sem dúvida, sob este aspecto, o octógono é mais conveniente que o hexágono. Entretanto há outros fatores que pesam no projeto de um parafuso.

Um octógono regular está mais próximo do círculo que o hexágono regular.

O ângulo interno do hexágono regular mede 120° e do octógono regular mede 135°. A chave usada para apertar ou desapertar um parafuso nunca se ajusta perfeitamente à sua cabeça. Sempre existe uma folguinha. Com o uso, a tendência da cabeça é sofrer um arredondamento (dizemos que a cabeça do parafuso fica espanada). Sob este aspecto o polígono mais adequado é o triângulo (é o que mais se afasta do círculo, é o que tem o menor ângulo interno: 60°).

Perceba que, numa linguagem pouco precisa, mas muito significativa, o hexágono fica mais ou menos no meio termo quando consideramos estes dois (giro pequeno e dificuldade para o espaçamento).

Mas por que não um parafuso pentagonal? O pentágono é próximo do hexágono. Sob aqueles dois aspectos apresentados, o pentágono possui propriedades próximas das do hexágono.

Para compreender porque não existem parafusos pentagonais é preciso considerar outro aspecto. No hexágono regular existem lados opostos paralelos e o mesmo não ocorre no pentágono regular.

Isto significa que a chave usada para o parafuso hexagonal tem, no encaixe, bordos paralelos, o que facilita o ajuste da chave à cabeça do parafuso.

  Para parafusos pentagonais poderíamos ter dois tipos de chaves.

A primeira tem a desvantagem de “escapar” com facilidade e a segunda só se encaixaria na cabeça do parafuso com este movimento:

  e não com este:

o que é incômodo para o mecânico. A primeira das chaves pentagonais não apresenta esta desvantagem, mas como dissemos, “escapa” com mais facilidade da cabeça do parafuso.

Em resumo, no projeto de parafusos com cabeças prismáticas, o polígono regular da base deve ser escolhido levando em conta:

1.      seu ângulo central (giro pequeno)

2.      seu ângulo interno (espanamento da cabeça)

3.      existência de lados paralelos (encaixe da chave)

Estes critérios fazem do hexágono regular (parafuso sextavado) o polígono mais adequado.